相关栏目
热点文章
首页 » 招生就业 » 正文

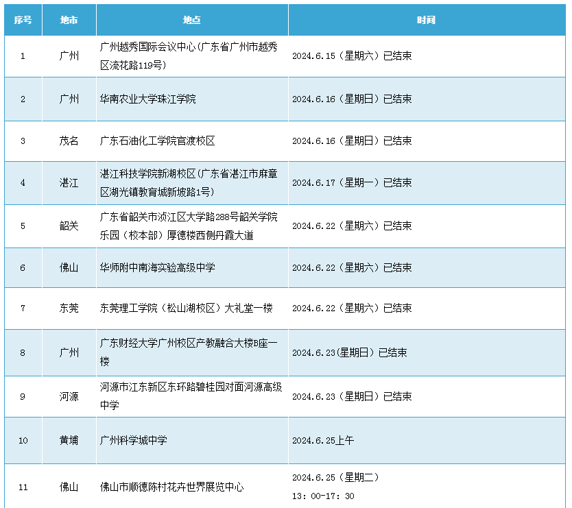
广州理工学院2024年普通本科线下招生咨询会安排表

发布时间:2024年06月24日 来源: 广州理工学院官网 字体大小: